If you would like to have a deeper understanding of our products, prices, and after-sales service, please contact us as follows and we will respond promptly to provide you with the necessary services.
(1)Cummins new generation high-power engine with strong power, low fuel consumption and high reliability
(2)New hydraulic system, large displacement main pump, large flow main valve, large flow area, small pressure loss, more reasonable flow distribution, better coordination and easier operation
(3)Equipped with a large-bore oil cylinder, optimizing the arrangement of key hinge points, improving the digging force of the whole machine, setting an automatic supercharging function, and automatically increasing the digging force as the load increases; large displacement slewing motor and slewing gear design with large speed ratio Higher starting torque, better slewing braking effect
(4)Aiming at the extremely harsh mining operation conditions, the heavy-duty reinforced boom, the mine-specific short stick and the large-capacity rock bucket are standard, and the extended and widened heavy-duty chassis is standard.
(5)Equipped with high-resolution, high-brightness 5.7-inch color anti-glare monitoring instrument, intelligent electronic monitoring system, with vehicle maintenance information prompts, fault self-diagnosis and alarm and other functions;

| Operating weight | Kg | 31380 | |
| Rated power | KW/rpm | 194/2200 | |
| Rated bucket capacity | m3 | 1.6 | |
| Overall length | A | mm | 10686 |
| Overall width(600 mm track) | B | mm | 3280 |
| Overall height | C | mm | 3546 |
| Platform width | D | mm | 3060 |
| Height of cabin | E | mm | 3145 |
| Ground clearance of counterweight | F | mm | 1193 |
| Engine cover height | G | mm | 2563 |
| Min. ground clearance | H | mm | 471 |
| Tail length | I | mm | 3205 |
| Turning radius of turntable | I’ | mm | 3250 |
| Wheel base of track shoe | J | mm | 4030 |
| Length of chassis | K | mm | 4950 |
| Width of chassis | L | mm | 3280 |
| Track shoe gauge | M | mm | 2680 |
| Standard track width | N | mm | 600 |
| Max. traction | KN | 266 | |
| Traveling speed (H/L) | Km/hr | 4.8/3.0 | |
| Swing speed | rpm | 10 | |
| Gradeability | Degree(%) | 35(70%) | |
| Ground pressure | Kgf/cm2 | 0.594 | |

| ITEM | 6.2m arm,2.65m Stick,1.6m3 bucket | |
| JM330D | ||
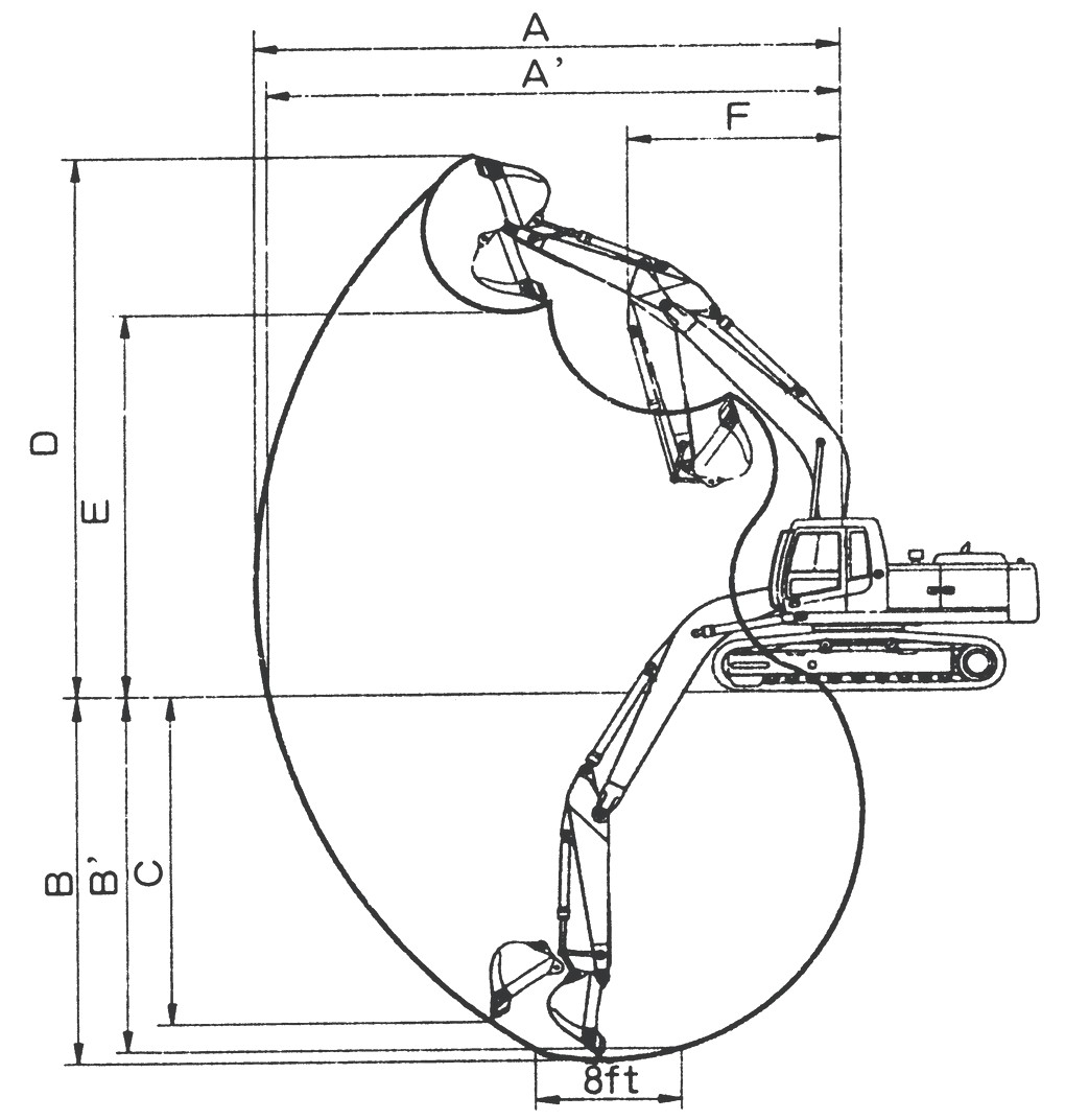
| Maximum digging radius | A | 10233 mm |
| Ground maximum digging radius | A’ | 10028 mm |
| Maximum digging depth | B | 6536 mm |
| Ground maximum digging depth | B’ | 6331 mm |
| Maximum vertical digging depth | C | 4758 mm |
| Maximum digging height | D | 9617 mm |
| Maximum dumping height | E | 6666 mm |
| Min. front turning radius | F | 4256 mm |
| Bucket digging force | ISO | 225 KN |
| Stick digging force | ISO | 182 KN |
| Model | Cummins 6CTAA8.3-C260 | ||
| Specifications | Type | 4 Stroke,6 Cylinder in line ,direct injection, turbocharged | |
| Cooling type | Water cooled | ||
| Bore diameter × stroke | mm | 114×134.9 | |
| Displacement | L | 8.29 | |
| Rated power | kW/rpm | 194/2200 | |
| Max. torque | Nm/rpm | 1150/1300 | |
| Rated diesel consumption | g/KW.h(rpm) | 222(2200) | |
| Starter | 8201043 | ||
| Generator | (28V-70A) | ||
| Battery | 2×12V×120Ah | ||
| Engine | Cummins |
| 6CTAA8.3-C260 | |
| Main pump | KAWASAKI |
| K5V140DT | |
| Main valve | KAWASAKI |
| KMX15RB | |
| Slewing motor | KAWASAKI |
| M5X180CHB | |
| Travelling motor | DOOSAN |
| TM60VC | |
| Track | ASIATRACK |
| AC | DENSO |
| Slewing ring | FANGYUAN |
| Arm | JUNMA 6.2m |
| Stick | JUNMA 2.65m |
| Bucket | JUKE 1.6m3 |
| Frame | JUNMA |